
经常关注手机资讯的差友们可能知道, iPhone Flip 这事儿已经堪称现代版《狼来了》的故事,自从安卓第一款折叠屏手机卖的火热,每年高低有点 iPhone Flip 的爆料。
最近两年,媒体挖出的消息越来越多,先是挖出了折叠机的内部代号,然后挖出来了折叠的形态,还爆料出了一堆苹果和折叠机相关的专利。
去年一段时间,还有媒体爆料,苹果首款小折叠产品,最早 24 年就会小批量生产,同时折叠版 iPad 也会一同现身——结果大家也知道了,是个烟雾弹。

不过今天,更准确的消息出现了:小折叠 iPhone 已经脱离了概念阶段,进入研发,预计 2026 年推出。

好家伙,苹果怕是真铁了心要搞小折叠了!
不过,托尼也和身边的硬件工程师朋友聊了聊,结果他给我稍微泼了盆冷水——
所谓进入研发阶段,离投产还远着呢。
他这么给我捋了一下:概念阶段,应该是指苹果有了一个初步的设计需求,比如说“要做一款旗舰级的折叠屏手机”。
而进入研发阶段,则是苹果已经针对这个目标整理了一版初步的设计方案,来让工程师们知道,应该如何细化各个模块的设计。

换句话说,就是不但决定要去逛超市,而且还把购物清单给列好了,但是要购物清单的商品能不能买的到,得等到了现场才知道。
好巧不巧,刚跟他聊完我就又看到了一条消息,说苹果对折叠屏的“折痕问题”不满意,要下大力气改进,所以折叠屏的真实发布时间可能还会再推迟一年。

行。。。吧。。。假如你真能把折痕问题彻底解决了,那再鸽一年也无妨。
不仅如此,从苹果时不时的抛出一些折叠屏专利来看,苹果对于折痕、铰链、机身厚度等几大小折叠的常见痛点都有一定研究。
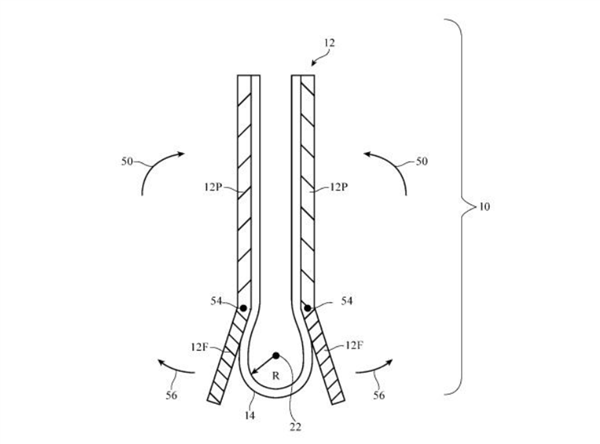
比如,有着独特铰链的可移动的伸缩板,简单理解就是,设备展开时,这个伸缩板会带动两侧的转轴打开,屏幕外壳两部分的间隙会被同时覆盖住,当设备折叠时,两个转轴会收缩回来。

专利指出这种方式,可让折痕上的应力几乎为0。

此外,网上还有传出,苹果研发了一种柔性显示屏覆盖层的专利技术,可以简单理解成,往屏幕里填充了一层记忆海绵一样的“自愈”材料,可以一定程度的修复折痕。

不过,虽然大家扒出来不少专利,但托尼目前没有收到任何消息透露,苹果已经拿出了消灭折痕的解决方案。
大家可能不知道,早在几年前我们评测一款折叠屏手机的时候,这家手机厂商的人就跟我们说,他们使用的转轴铰链供应商,就是给苹果折叠屏提供铰链的。
假如这家厂商没跟我撒谎的话,这么多年过去了苹果折叠屏还在延期,恐怕彻底消除折痕的方案真的不好找。
说起来,对于小折叠,我们真的是又爱又恨。。。
第一代折叠屏手机刚发布的时候托尼就有同事剁手了,但真正用了才发现,小折叠是真的不好用。
因为我们这个工作要经常回微信,而当时小折叠的那个外屏比手环屏幕还小,很快我就发现他再也不把手机折起来了,最后花折叠屏的钱买了一台续航更短、性能更弱的“直板机”。。。
于是在网上骂“美丽的小废物”的人又多了一个。
稿定抠图
AI自动消除图片背景
76 查看详情

中途小折叠也不是没有进化,但是吧,也还是差点儿意思。
就比如,大家都意识到了得让折叠屏在闭合的情况下也能应应急,所以开始往翻盖上面加小屏幕。
但是这时候的“小外屏”体验还是有点儿一言难尽——

然而一晃五年,如今最新的小折叠手机们一个个都拥有超大的外屏。
不仅能拿来当化妆镜、自拍神器,还能完美显示上百款 App ,简单回个微信、滴滴叫个车都不用展开手机。
u1s1 ,现在我已经对小折屏们的外屏体验很满意了,我有点儿想象不到假如苹果下场了,还能怎么在这方面卷。。。

可能最多苹果会利用一下 iOS 闭源系统的优势,倒逼 App 开发者们专门开发更多在小屏上面体验更出色的 App 。
或者是借鉴一下 Apple Watch 的操作逻辑,给小折叠外屏定义一套很舒适的操作标准。
这方面我们肯定是能期待一下的。
但其实除了硬件做工和软件适配这两块,我觉得苹果下场做小折叠 iPhone 还有一些对整个行业来说都受益的好处。
比如说,现阶段的折叠屏手机算是个很小众的品类——虽然价格每年都在降,实用性、出货量也都在提高,但是大家还是观望者居多。
但有没有可能,其实这些观望的小伙伴里,有很多人都在等苹果?

我问了下身边的一些在观望的朋友,她们都觉得现在的折叠屏确实很好看,很有个性,会有购买欲望。
但是一想到自己现在用的是 iPhone ,换折叠屏就意味着要把各种熟悉的生态切换到安卓,就放弃了。
换句话说,假如苹果真的出了折叠屏,而且“iPhone Flip”能够像现在爆料的这样解决折痕、提高寿命,并且拥有更好的副屏软件适配的话。。。
跟我聊天的这些朋友,大概率都会下单,盛况可能不亚于当年 iPhone X 引入全面屏、 iPhone 14 Pro 引入灵动岛。。。
同时,苹果推动着供应链研究的折痕抑制技术、 App 们给折叠 iPhone 开发的外屏适配界面,最后也都会随着时间的推移,反哺到所有的折叠屏手机上。
结局会让整个小折叠手机的生态都会变得更好。
而即使抛开这些事不谈, iPhone 出折叠屏,对苹果自己也有很多好处。
其中最明显的就是销量了,要知道,安卓小折叠的销量这两年可是节节升高。。。这还是有不少小伙伴在观望折叠 iPhone 的情况下。

要是小折叠iPhone真发布了,远的不说,苹果至少应该是能把研发Vision Pro亏的钱都给赚回来~
以上就是iPhone要出折叠屏了!值不值得让我们再等两年?的详细内容,更多请关注创想鸟其它相关文章!
版权声明:本文内容由互联网用户自发贡献,该文观点仅代表作者本人。本站仅提供信息存储空间服务,不拥有所有权,不承担相关法律责任。
如发现本站有涉嫌抄袭侵权/违法违规的内容, 请发送邮件至 chuangxiangniao@163.com 举报,一经查实,本站将立刻删除。
发布者:程序猿,转转请注明出处:https://www.chuangxiangniao.com/p/1012334.html
微信扫一扫
支付宝扫一扫


