深圳市华星光电半导体显示技术有限公司近日获得一项名为“显示面板及显示装置”的专利,天眼查信息显示其授权公告号为cn222485190u,授权公告日期为2025年2月14日,申请日期为2024年2月29日。
☞☞☞AI 智能聊天, 问答助手, AI 智能搜索, 免费无限量使用 DeepSeek R1 模型☜☜☜

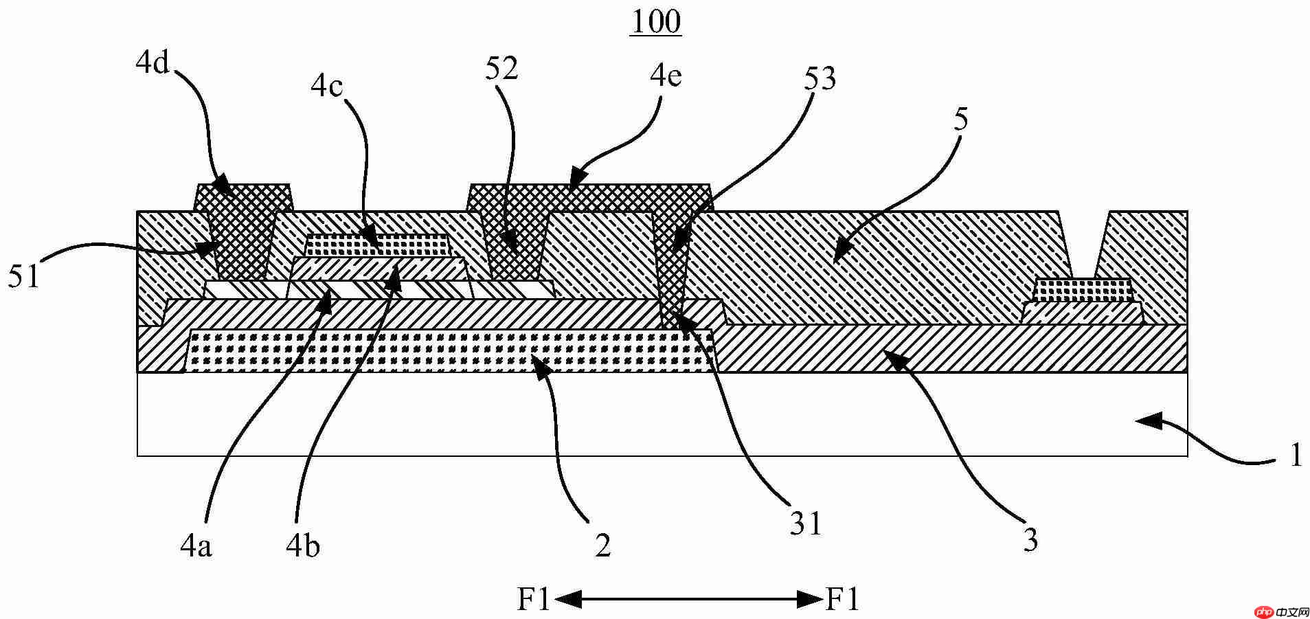
本发明公开了一种显示面板及其所构成的显示装置。该显示面板中,金属遮光层位于衬底基板之上;缓冲层设置在衬底基板上,并覆盖金属遮光层;有源层设于缓冲层之上;栅极绝缘层设于有源层上方;栅极设置在栅极绝缘层上;层间绝缘层位于缓冲层上,并覆盖有源层与栅极;源极设置于层间绝缘层上;漏极也设置于层间绝缘层上;其中,层间绝缘层设有第一接触孔、第二接触孔和第三接触孔;缓冲层上设有第四接触孔;源极与第一接触孔位置相对应;漏极的一部分对应于第二接触孔,另一部分对应于第三接触孔;第一接触孔与第二接触孔的孔径大于第三接触孔的孔径,同时第一接触孔与第二接触孔的孔径也大于第四接触孔的孔径。
以上就是华星光电 “显示面板及显示装置”专利获授权的详细内容,更多请关注创想鸟其它相关文章!
版权声明:本文内容由互联网用户自发贡献,该文观点仅代表作者本人。本站仅提供信息存储空间服务,不拥有所有权,不承担相关法律责任。
如发现本站有涉嫌抄袭侵权/违法违规的内容, 请发送邮件至 chuangxiangniao@163.com 举报,一经查实,本站将立刻删除。
发布者:程序猿,转转请注明出处:https://www.chuangxiangniao.com/p/117683.html
微信扫一扫
支付宝扫一扫


