☞☞☞AI 智能聊天, 问答助手, AI 智能搜索, 免费无限量使用 DeepSeek R1 模型☜☜☜

根据天眼查在5月27日发布的《商标转让/移转公告》,华为技术有限公司已将“尚界”商标转让给了上海汽车集团股份有限公司。

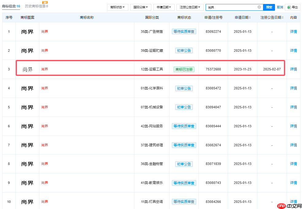
公告显示,该商标是在2023年11月23日注册成功的,其专用权的有效期从2025年2月7日开始,到2035年2月6日结束,属于第12类运输工具类别。
通过天眼查了解到,当前上汽集团正在申请的“尚界”相关商标共有16个,其中仅有一个是从华为方面受让而来的,其余15个商标的申请日期集中在2024年1月13日至14日之间,部分已经进入了初步审查阶段,还有更多正处于“等待实质审查”的状态。

在4月16日举行的鸿蒙智行新品发布会上,华为的常务董事兼终端业务负责人余承东正式宣布,“尚界”作为与上汽集团合作的新品牌,现已纳入鸿蒙智行的产品系列之中。这标志着华为在智能汽车领域的第五个品牌诞生,前四个分别是问界、智界、享界和尊界。
依据之前市场的传闻,“尚界”的首款车型目标市场定位于15万至25万元区间,该车是在上汽荣威代号为“ES39”的车型基础上改进升级而来,预计将在2025年下半年推出。这款新车将配备华为提供的鸿蒙智能座舱以及高级别的自动驾驶系统,并且采用视觉传感器与激光雷达相结合的技术方案,同时还集成了上汽自主研发的增程式动力技术,从而成为鸿蒙智行产品线里性价比最高的车型之一。
以上就是上汽正式受让“尚界”商标,加速第五界上市进程的详细内容,更多请关注创想鸟其它相关文章!
版权声明:本文内容由互联网用户自发贡献,该文观点仅代表作者本人。本站仅提供信息存储空间服务,不拥有所有权,不承担相关法律责任。
如发现本站有涉嫌抄袭侵权/违法违规的内容, 请发送邮件至 chuangxiangniao@163.com 举报,一经查实,本站将立刻删除。
发布者:程序猿,转转请注明出处:https://www.chuangxiangniao.com/p/125672.html
微信扫一扫
支付宝扫一扫