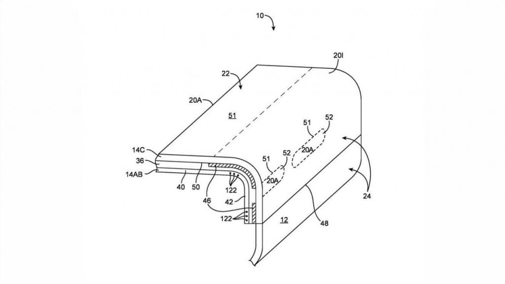
苹果公司近日宣布获得一项新专利,该专利涉及在 iphone 和 ipad 设备的侧面增加触控显示屏幕。这一创新功能类似于macbook pro上的 touch bar,旨在提升用户的交互体验。

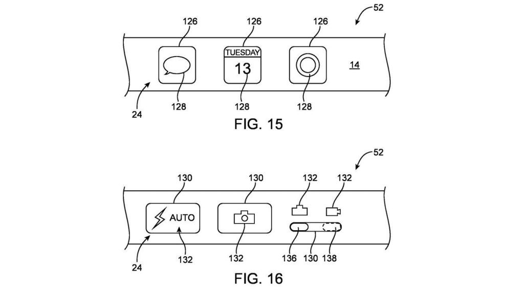
根据美国商标和专利局(USPTO)公示的信息,苹果的这项专利将使得设备侧面的显示屏能够显示控制按钮和用户界面,同时还可以用来展示电量、天气等状态信息,并提供额外的控制功能。例如,用户可以在 iPhone 侧面的触控屏上查看当前播放曲目的名称和歌词,以及进行音量调节和切换歌曲的操作。

专利草图显示,在设备侧面出现了音量控制图标,这表明苹果计划进一步取消硬件音量和其他按钮,转而采用侧面的屏幕来整合控制和显示元素。

与传统的 iPhone 金属侧边上的实体按键不同,这项新技术赋予了侧面更大的灵活性,可以根据使用情境变成不同的控制界面。

结合苹果的其他专利,例如在设备边缘嵌入摄像头的技术,未来移动设备可能会拥有在曲面上配备摄像头和显示屏的新时代。这些综合技术可能会引领一种比现有设备更为灵活的设备时代,带来与应用和操作系统交互的新方式。
编辑点评:虽然无法知悉这项专利能否成功落地,展现在未来的苹果设备当中,但相信这一进展无疑为未来的 iPhone 和 iPad 带来了更多的可能性。
以上就是将 Touch Bar 搬上 iPhone?苹果新专利获批,iPhone 侧面将配备触控显示屏的详细内容,更多请关注创想鸟其它相关文章!
版权声明:本文内容由互联网用户自发贡献,该文观点仅代表作者本人。本站仅提供信息存储空间服务,不拥有所有权,不承担相关法律责任。
如发现本站有涉嫌抄袭侵权/违法违规的内容, 请发送邮件至 chuangxiangniao@163.com 举报,一经查实,本站将立刻删除。
发布者:程序猿,转转请注明出处:https://www.chuangxiangniao.com/p/17615.html
微信扫一扫
支付宝扫一扫


