根据天眼查的数据,宁德时代新能源科技股份有限公司公布了“探针装置以及电池检测设备”专利,公布日期为2025年3月11日,公布号为cn119604770a。
☞☞☞AI 智能聊天, 问答助手, AI 智能搜索, 免费无限量使用 DeepSeek R1 模型☜☜☜

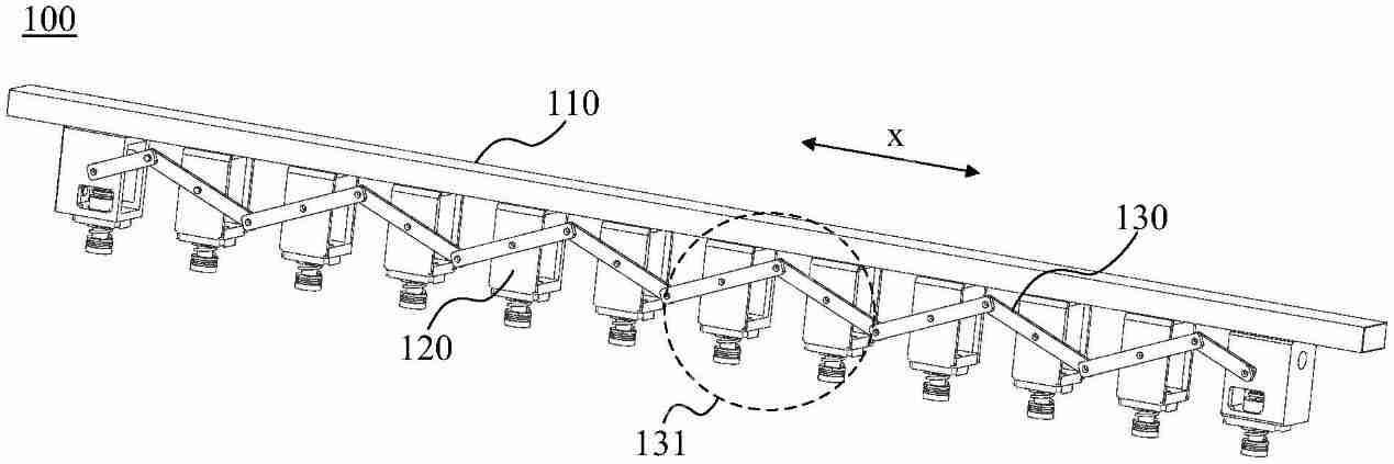
该专利描述了一种探针装置(100)及电池检测设备(10)。探针装置(100)包含:导向件(110),其沿第一方向(x)延伸;多个探针模块(120),这些模块沿第一方向(x)排列在导向件(110)上,其中至少部分探针模块(120)与导向件(110)形成滑动连接,导向件(110)引导这些探针模块(120)沿第一方向(x)滑动;连杆组件(130),包括至少一个连杆单元(131),连杆单元(131)连接于相邻的两个探针模块(120)之间,且在第一方向(x)上具有伸缩功能。该探针装置(100)可实现多个探针模块(120)在第一方向(x)上的无级调节。
PatentPal专利申请写作
AI软件来为专利申请自动生成内容
13 查看详情
以上就是宁德时代“探针装置以及电池检测设备”专利公布的详细内容,更多请关注创想鸟其它相关文章!
版权声明:本文内容由互联网用户自发贡献,该文观点仅代表作者本人。本站仅提供信息存储空间服务,不拥有所有权,不承担相关法律责任。
如发现本站有涉嫌抄袭侵权/违法违规的内容, 请发送邮件至 chuangxiangniao@163.com 举报,一经查实,本站将立刻删除。
发布者:程序猿,转转请注明出处:https://www.chuangxiangniao.com/p/256230.html
微信扫一扫
支付宝扫一扫

