近期多家企业专利获授权或公布,涵盖电源管理、半导体器件、存储技术及移动通信等领域。以下为部分专利信息摘要:
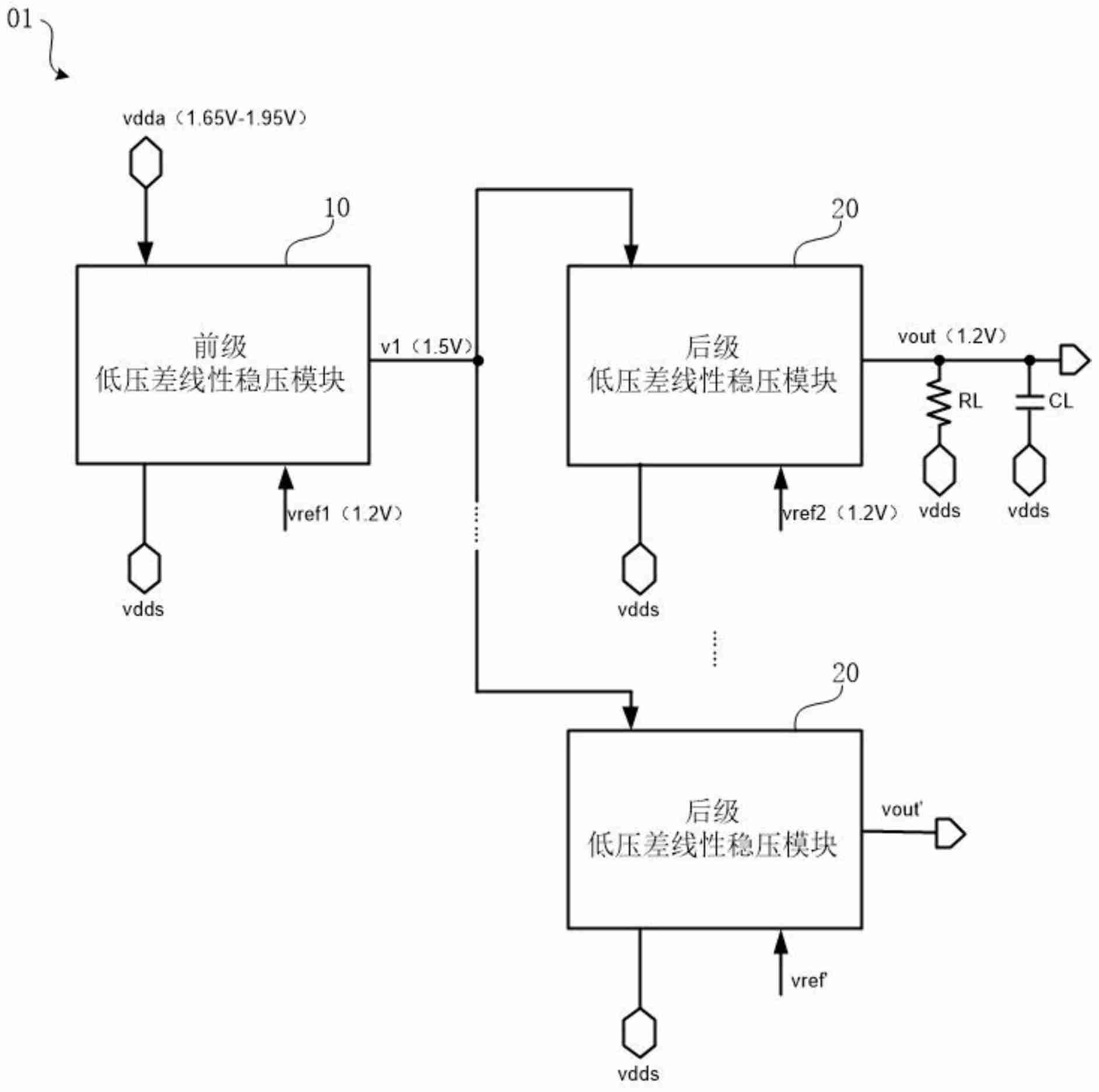
汉天下低压差线性稳压电路专利获授权: 苏州汉天下电子有限公司获得“低压差线性稳压电路”专利授权(CN222461955U)。该专利采用电流模缓冲补偿结构和倒置型源极跟随器,提升了电路的频率稳定性、输出电压稳定性和带宽。
☞☞☞AI 智能聊天, 问答助手, AI 智能搜索, 免费无限量使用 DeepSeek R1 模型☜☜☜

泰科天润高可靠平面栅碳化硅VDMOS专利公布: 泰科天润半导体科技(北京)有限公司公布“一种高可靠平面栅碳化硅VDMOS及其制备方法”专利(CN119421473A)。该专利通过优化器件结构,有效提高了碳化硅VDMOS的栅极可靠性,并降低了体二极管续流损耗和反向恢复速度。

江波龙隐藏扇区解锁方法专利公布: 深圳市江波龙电子股份有限公司公布“隐藏扇区解锁方法、存储设备及电子设备”专利(CN119442210A)。该专利提出了一种通过蓝牙通信验证解锁密码,从而提高隐藏扇区安全性的方法。

必易微LED线性驱动系统专利获授权: 深圳市必易微电子股份有限公司获得“用于LED线性驱动系统的控制电路、LED线性驱动电路及方法”专利授权(CN109068452B)。该专利通过控制晶体管电流,降低了LED线性驱动系统的功耗并提高了效率。

PatentPal专利申请写作
AI软件来为专利申请自动生成内容
13 查看详情
OPPO WiFi天线智能切换专利公布: OPPO广东移动通信有限公司公布“WiFi天线智能切换的方法、装置、终端设备及存储介质”专利(CN119450625A)。该专利提出了一种根据网络设备兼容性智能切换WiFi天线模式的方法,以节省终端设备功耗。

这些专利技术的授权和公布,展现了相关企业在技术创新方面的持续投入,并对未来相关产业发展具有积极意义。
以上就是【专利】汉天下“低压差线性稳压电路”专利获授权;泰科天润“一种高可靠平面栅碳化硅VDMOS及其制备方法”专利公布;江波龙“隐藏扇区解锁方法、存储设备及电子设备”专利公布的详细内容,更多请关注创想鸟其它相关文章!
版权声明:本文内容由互联网用户自发贡献,该文观点仅代表作者本人。本站仅提供信息存储空间服务,不拥有所有权,不承担相关法律责任。
如发现本站有涉嫌抄袭侵权/违法违规的内容, 请发送邮件至 chuangxiangniao@163.com 举报,一经查实,本站将立刻删除。
发布者:程序猿,转转请注明出处:https://www.chuangxiangniao.com/p/347974.html
微信扫一扫
支付宝扫一扫













