MR系统可以使用多个摄像头,但在呈现图像时需要对齐图像。然而,图像对齐是一个具有挑战性的问题。因此,在名为“利用角点和线特征进行图像对齐的方法”的专利申请中,%ignore_a_1%提出了一种解决方案
当然,行业早已存在利用角特征来进行图像对齐的方法。然而,在图像中识别角并根据识别的角对齐图像是一个耗时且计算密集型的操作。
微软提出的是一种更有效的改进技术,可以实现更好的特征匹配。发明主要介绍了使用角特征和线特征来执行视觉对齐的混合方法,而这种解决方案导致对齐过程中所需的约束更少,从而改进计算效率和特征匹配。
☞☞☞AI 智能聊天, 问答助手, AI 智能搜索, 免费无限量使用 DeepSeek R1 模型☜☜☜

图11示出一个示例环境1100,其中用户正在使用头显摄像头1105和外部摄像头1110。如前所述,需要对齐从这两个摄像头生成的图像内容。但环境1100可能是一个弱光环境,或者可能是一个在热梯度或对比度方面具有低对比度的环境。
例如,在深夜物体冷却后,环境的温度梯度可能通常是均匀的。在这种情况下,环境的温度曲线或梯度可能低于特定的等温阈值1115。在这种情况下,用于对齐内容的传统技术可能会失效。微软描述的实施例为这类场景提供了解决方案。

图12示出可用于对齐图像的示例角检测1200过程。图12示出了由图11的头显摄像头1105生成的第一图像1205,以及由外部摄像头1110生成的第二图像1210。
进行角检测操作以识别图像中存在的“角”。举例来说,可以通过实施例来识别第一张图像中的角特征。换句话说,可以在图像中识别一组像素,确定这些像素集合对应于一个角
“角”是指具有非均匀强度的一个或多个像素,其具有相对于所述一个或多个像素水平定位的第一附近像素块和相对于所述一个或多个像素垂直定位的第二附近像素块。换句话说,角定义为一组一个或多个与相对于像素集在X和Y方向相邻角形成对比的像素。
识别第一图像1205中的角特征1215,并且也识别第二图像1210中的角特征。因此,成功识别出角特征1225。需要注意的是,角特征1225与角特征1215是相对应的
为了对齐图像内容,该实施例的任务是识别1230个角的阈值。角的阈值数量必须相互对应。换句话说,必须识别在第一张图像1205中识别的多个角,并且必须与在第二张图像1210中识别的多个角相对应
如果满足这些阈值,则实施例可以执行图像对齐操作以生成叠加图像1235,所述图像1235是其中对齐来自第二图像1210的内容,然后与来自第一图像1205的相应内容覆盖的图像。
进行角点检测和对齐是一项计算密集型操作,如果检测到的角点与图像之间的匹配不够好,整个过程可能会失败。例如,仅使用角点的方法,需要从一张图像中识别出至少5个角点,然后与第二张图像中的相应角点进行匹配。在低对比度条件下,即使识别出5个相应的角点也可能是一项挑战
在识别足够数量的角之后,实施例然后使用运动模型识别3D旋转,以便通过执行各种旋转和转换以使5个角彼此对齐来将图像内容从第一或第二图像适配到另一图像。执行这样的对齐是计算密集型。
因此,我们需要减少只使用角方法时所存在的约束,而图13则描述了这样一种技术。

在图13中展示了角点和线点检测1300的过程,这个过程包括了图12中的角点检测1200操作和线点检测操作的组合。需要注意的是,角点检测操作和线检测操作是同时进行的
通常情况下,识别图像中的相应的“线”比识别角点更简单,因此线检测过程通常比角点检测过程更快。由于这两个过程可以并行运行,并且线检测过程更快,因此添加线检测过程不会对整体对齐过程的速度产生负面影响
通过合并使用线条来对齐图像,可以在对齐过程中使用更少的角,从而导致放松的约束和通常更容易对齐。特别是在低温条件下,要求使用更少的角是非常有益的,因为很难找到和匹配角
“线”被定义为一组一个或多个像素,它们具有相对于一组或多个像素集的水平定位的第一附近像素块的均匀强度,并且具有相对于一组或多个像素集的垂直定位的第二附近像素块的不均匀强度。或者,它们具有相对于一组或多个像素集的水平定位的第一附近像素块的不均匀强度,并且具有相对于一组或多个像素集的垂直定位的第二附近像素块的均匀强度
在图13中,展示了代表图12中图像的第一图像1305和第二图像1310。图13还展示了一种实施方法,可以检测第一图像1305中的角特征1315
在对第一图像1305进行角特征的例检测时,同时也会进行线特征的检测,就像线特征1320和线特征1325所示的那样。一般来说,相较于可以检测到的角的数量,我们能够检测到更多的线
对第二图像1310执行角和线操作。为了说明,所述实施例识别角特征1330。与角检测操作并行,实施例同时检测第二图像1310中的线,如线特征1335和线特征1340。
请注意,角特征1330与角特征1315相对应;线特征1335与线特征1320相对应。线特征1340与线特征1325相对应。实施例可以识别这些对应关系,然后生成或使用适合于将这些特征点彼此对齐的运动模型
根据发明原理,我们定义了第一个阈值为1345。第一个阈值是指必须在两个图像中识别的相应角特征的数量,以便对它们进行对齐。同时,我们还定义了第二个阈值为1350。第二个阈值是指必须在两个图像中识别的相应行特征的数量,以使它们对齐
第一阈值1345和第二阈值1350的满足使实施例能够对齐来自第一图像1305和第二图像1310的内容以生成叠加图像1355。值得注意的是,阈值通常是指必须识别的角和线的总数。
在了解执行线特征检测的便利性和速度之后,你可能会质疑为什么实施例不仅依赖于线检测操作而避免执行角检测操作。原因是因为在图像中检测线条会导致孔径问题。

以下是重写后的内容:根据图14,我们可以看到孔径问题,即孔径模糊度为1400。在图14中,线段1405是整条线的一部分。孔径模糊度1400指的是一条线的多个不同部分可能(但不正确地)与已识别的线段1405相关
例如,尽管线段1410实际上位于错误的位置或位置,但线段1410可能是与线段1405匹配的像素块。类似地,线段1415或线段1420可能包含可能映射或匹配线段1405中的像素的像素块。这样的场景在对齐过程中引入了模糊性。
因此,依靠线检测过程本身是不够的技术。换句话说,依靠线和角的组合可以使实施例使用宽松的约束,从而提高计算效率。

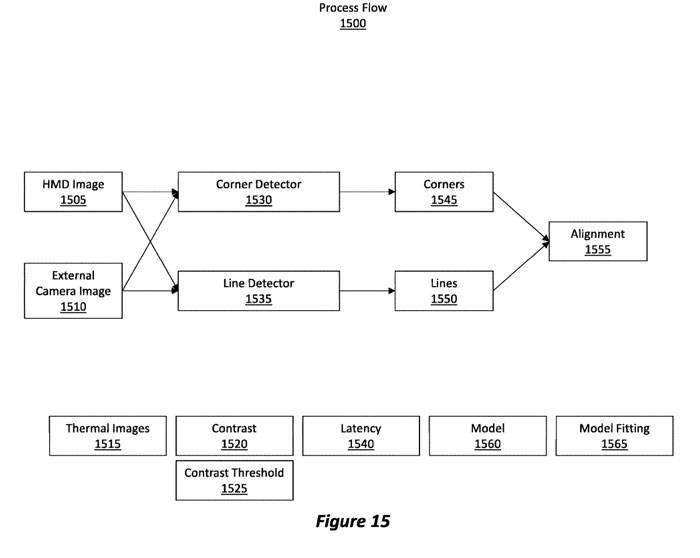
示例过程流1500在图15中展示。最初,会获取一组图像,如头戴式摄像头图像1505和外部摄像头图像1510。这些图像可能是热图像。图像中的温度梯度或对比度1520可能低于特定的对比度阈值1525。因此,在图像中识别足够数量的角可能相当困难。在这种情况下,可以利用混合方法检测角和线的组合以实现对齐
将头戴式摄像头图像1505和外部摄像头图像1510传送到角度检测器1530和线条检测器1535中,这两个检测器同时运行,彼此之间没有依赖关系
请注意,线检测器1535在检测线条时通常比角检测器1530在检测角度时更快。换句话说,线检测器1535的延迟时间较角检测器1530的延迟时间要短
角点检测器1530分析所述两个图像并识别所述图像中的角点1545。类似地,线检测器1535分析这两个图像并识别图像中的线1550。然后,实施例通过在两个图像内识别相应的角和线来执行对齐1555。
为了执行对齐,需要确定线和角的阈值数量。匹配阈值比识别角的数量或线的阈值更相关。然后,实施例将所识别的角和线拟合到诸如运动模型的3D模型1560中。然后对模型1560进行模型拟合1565操作,以旋转、平移和/或变换一幅图像,从而匹配或对齐另一幅图像中的相应角和线。
换句话说,当执行重投影操作时,实施例使用已识别的角和线来对齐来自一个图像的内容与来自另一个图像的内容
相关专利:Microsoft Patent | Image alignment using corner and line features
名为“Image alignment using corner and line features”的微软专利申请最初在2022年2月提交,并在日前由美国专利商标局公布。
以上就是微软AR/VR专利提出利用角、线特征进行多摄像头图像对齐的详细内容,更多请关注创想鸟其它相关文章!
版权声明:本文内容由互联网用户自发贡献,该文观点仅代表作者本人。本站仅提供信息存储空间服务,不拥有所有权,不承担相关法律责任。
如发现本站有涉嫌抄袭侵权/违法违规的内容, 请发送邮件至 chuangxiangniao@163.com 举报,一经查实,本站将立刻删除。
发布者:程序猿,转转请注明出处:https://www.chuangxiangniao.com/p/815625.html
微信扫一扫
支付宝扫一扫


