近日,有消息透露,苹果公司获得了一项名为“具有扩展输入输出能力的电子设备”的专利,这项专利揭示了新一代妙控鼠标的潜在功能。根据专利描述,未来的妙控鼠标将不仅仅依赖于表面触摸操作,还能够识别用户在鼠标附近空间中进行的手势。

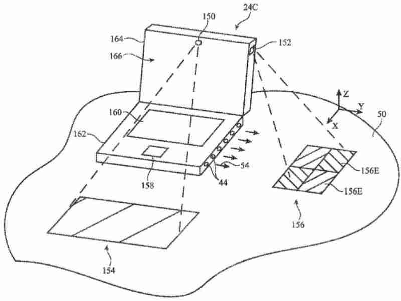
这项专利的核心是引入了一种全新的三维手势识别技术。通过在鼠标侧面安装传感器阵列,这款新型鼠标将能够捕捉用户手指在鼠标侧边区域的位置信息。这些传感器可能采用发光二极管或激光光源的光学传感器,或者用于检测用户手指输入的电容传感器。这意味着用户可以通过在鼠标附近的空中移动手指或手掌,来执行各种操作,实现更加自然和直观的交互体验。
除了传感器,专利还提到了摄像头的应用。这款新型鼠标可能配备一个或多个可见光摄像头和/或红外摄像头,用于捕捉用户的手势动作,进一步提升手势识别的精度和功能性。此外,专利中还涉及了投影仪的应用。未来,鼠标或其他设备可以配备投影仪,将图像投射到桌面或其他表面上。这些图像可以包含虚拟按键、菜单或其他可选择的视觉元素,用户只需轻触这些投影图像,鼠标内置的摄像头就能识别位置并判断用户意图,实现更加丰富的交互体验。

这项技术的应用场景不仅仅限于鼠标。专利中还列举了多种可能应用该技术的设备,包括触控板、笔记本电脑、内置计算机的显示器、平板电脑、手机、媒体播放器、智能手表、挂件、耳机、头戴式耳机等,甚至包括嵌入在桌子、椅子、书桌等家具中的电子设备。这意味着未来,用户可以通过在鼠标旁敲击手指来启动快捷方式,或者将咖啡杯放在桌面上就能启动Mac,甚至在桌面上展开手指就能实现设备上的缩放操作。
尽管专利展示了这一技术的广泛应用前景,但苹果认为这种鼠标或桌面设备更多是作为现有输入方式的补充,而非完全替代。专利指出,这些设备可以确定用户手指或其他身体部位在空中移动的位置,这种额外的输入方式可以扩展输入能力,补充通过按钮、触摸传感器、指针移动传感器等收集的信息。用户可以通过这种方式操作视觉对象(如图标)、向系统输入文本、进行菜单选择等,使操作更加高效便捷。
以上就是苹果妙控鼠标新专利曝光 支持空中手势识别的详细内容,更多请关注创想鸟其它相关文章!
版权声明:本文内容由互联网用户自发贡献,该文观点仅代表作者本人。本站仅提供信息存储空间服务,不拥有所有权,不承担相关法律责任。
如发现本站有涉嫌抄袭侵权/违法违规的内容, 请发送邮件至 chuangxiangniao@163.com 举报,一经查实,本站将立刻删除。
发布者:程序猿,转转请注明出处:https://www.chuangxiangniao.com/p/88111.html
微信扫一扫
支付宝扫一扫