☞☞☞AI 智能聊天, 问答助手, AI 智能搜索, 免费无限量使用 DeepSeek R1 模型☜☜☜
帮衣帮-AI服装设计
AI服装设计神器,AI生成印花、虚拟试衣、面料替换
39 查看详情
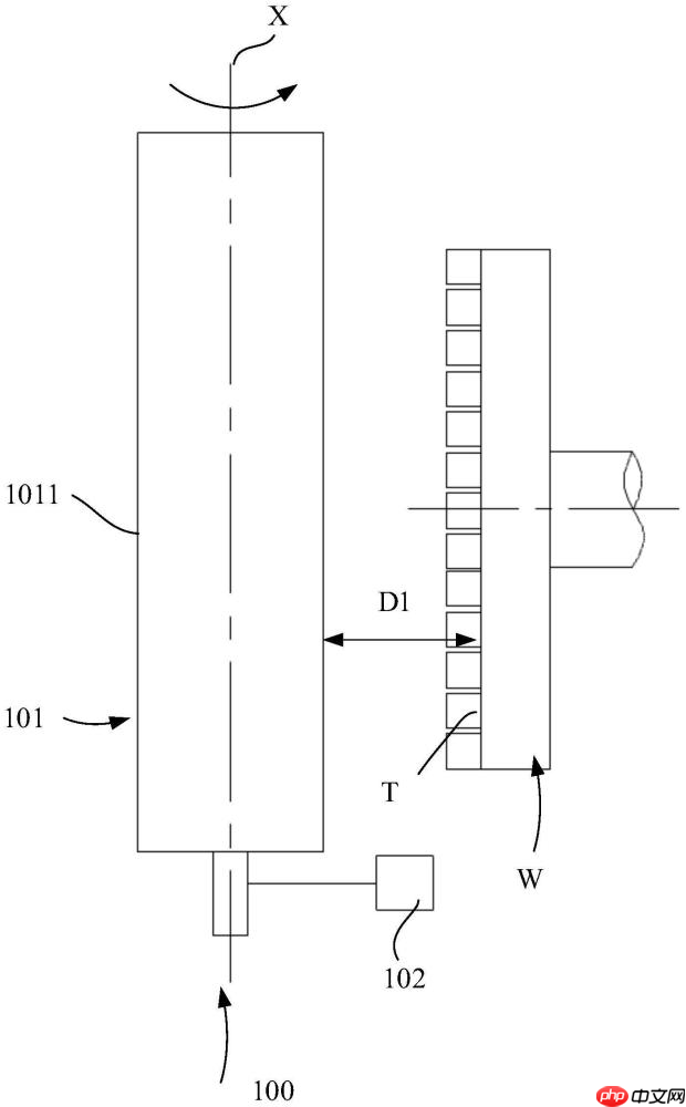
天眼查显示,西安奕斯伟材料科技股份有限公司近日取得一项名为“一种用于修整研磨轮的装置和方法”的专利,授权公告号为CN115592565B,授权公告日为2025年3月14日,申请日为2022年10月14日。

本发明实施例公开一种用于修整研磨轮的装置,所述装置包括:柱状的修整部,所述修整部设置成能够绕自身的中心轴线旋转以通过所述修整部的周向表面对研磨轮的研磨齿进行修整;距离感测器,所述距离感测器用于感测所述研磨轮相对于所述修整部的所述周向表面的进给距离;其中,当所述距离感测器感测到所述研磨轮相对于所述修整部的所述周向表面的进给距离达到第一预定距离时,则修整操作结束。
以上就是奕斯伟材料“一种用于修整研磨轮的装置和方法”获授权的详细内容,更多请关注创想鸟其它相关文章!
版权声明:本文内容由互联网用户自发贡献,该文观点仅代表作者本人。本站仅提供信息存储空间服务,不拥有所有权,不承担相关法律责任。
如发现本站有涉嫌抄袭侵权/违法违规的内容, 请发送邮件至 chuangxiangniao@163.com 举报,一经查实,本站将立刻删除。
发布者:程序猿,转转请注明出处:https://www.chuangxiangniao.com/p/96745.html
微信扫一扫
支付宝扫一扫

