it之家 4 月 17 日消息,根据美国商标和专利局(uspt%ignore_a_1%)近日公示的清单,苹果公司获得了一项关于 iphone 配件的全新专利,内部可以塞入各种银行卡,可以通过 magsafe 为 iphone 充电,并可佩戴在手腕或脖子上。

该配件可以充当 iPhone 支架使用,配有一条带子,可以将其固定在行李上。不过用户也可以搭配挂绳,套在手腕或者脖子上。
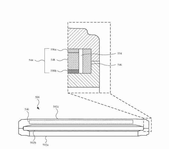
苹果官方描述为“用于收纳便携式电子设备 [指 iPhone] 的口袋”,这款配件还可以通过 MagSafe 给 iPhone 充电。
此外 iPhone 在放入该配件之后,该配件还可以预留相应的开口,显示时间、天气、通知等关键信息。


IT之家附上其它图片内容如下:

Reclaim.ai
为优先事项创建完美的时间表
90 查看详情






以上就是iPhone新配件专利获批:苹果欲打造终极MagSafe钱包的详细内容,更多请关注创想鸟其它相关文章!
版权声明:本文内容由互联网用户自发贡献,该文观点仅代表作者本人。本站仅提供信息存储空间服务,不拥有所有权,不承担相关法律责任。
如发现本站有涉嫌抄袭侵权/违法违规的内容, 请发送邮件至 chuangxiangniao@163.com 举报,一经查实,本站将立刻删除。
发布者:程序猿,转转请注明出处:https://www.chuangxiangniao.com/p/992852.html
微信扫一扫
支付宝扫一扫

