天眼查信息显示,京东方科技集团股份有限公司近日获得一项新专利,名称为“显示面板及其制备方法、显示装置及拼接显示装置”,授权公告号为cn114255665b,授权公告日期为2025年3月14日,申请时间为2020年9月24日。
☞☞☞AI 智能聊天, 问答助手, AI 智能搜索, 免费无限量使用 DeepSeek R1 模型☜☜☜

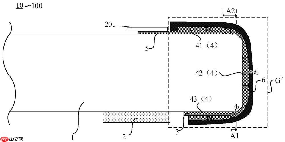
该专利公开了一种显示面板及其制造方法、显示装置以及拼接式显示装置,属于显示技术领域。为解决显示设备边框难以做窄的问题,本发明提供的显示面板包括:背板、多个发光元件、多个第一电极和若干条连接引线。背板具有相对的第一主表面和第二主表面,以及连接这两个主表面的多个侧面,其中至少一个侧面被选定为特定侧面。多个发光元件与多个第一电极设置在背板的第二主表面上,且多个第一电极与发光元件实现电性连接。多条连接引线布置于背板的第一主表面及所选侧面上,每条连接引线从第一主表面延伸至选定侧面,并与其中一个第一电极形成电连接。此结构的显示面板适用于各类显示装置。
以上就是京东方 “显示面板及其制备方法、显示装置及拼接显示装置”专利获授权的详细内容,更多请关注创想鸟其它相关文章!
版权声明:本文内容由互联网用户自发贡献,该文观点仅代表作者本人。本站仅提供信息存储空间服务,不拥有所有权,不承担相关法律责任。
如发现本站有涉嫌抄袭侵权/违法违规的内容, 请发送邮件至 chuangxiangniao@163.com 举报,一经查实,本站将立刻删除。
发布者:程序猿,转转请注明出处:https://www.chuangxiangniao.com/p/115089.html
微信扫一扫
支付宝扫一扫


