1.天马微电子“显示面板及显示模组”专利公布;
2.芯和半导体“一种快速求解多层集成电路板中平面分割过孔的方法”专利公布;
3.左蓝微“一种声表面波器件结构及装置”专利公布;
1.天马微电子“显示面板及显示模组”专利公布;
天眼查显示,武汉天马微电子有限公司“显示面板及显示模组”专利公布,申请公布日为2025年2月28日,申请公布号为CN119546133A。
☞☞☞AI 智能聊天, 问答助手, AI 智能搜索, 免费无限量使用 DeepSeek R1 模型☜☜☜

本申请公开了一种显示面板及显示模组,非显示区包括位于显示区一侧的绑定区,显示面板还包括基板、导电层以及焊盘;基板包括衬底、电路布线层以及保护层,电路布线层包括从显示区延伸至绑定区的延伸信号线;导电层位于保护层远离电路布线层一侧;至少一个焊盘,焊盘与延伸信号线相互电连接,还包括与导电层同层设置的绑定部,绑定部包括第一绑定子部和第二绑定子部,两者在远离基板一侧的表面之间的距离之差小于等于本申请实施例提供的显示面板及显示模组,焊盘的绑定部形貌控制较好,在后续的热压键合的步骤中,留存在第一绑定子部的至少部分导电粒子即使受挤压,也能够稳定存留,能够提升绑定部有效绑定面积,从而提升焊盘的绑定良率。
2.芯和半导体“一种快速求解多层集成电路板中平面分割过孔的方法”专利公布;
天眼查显示,芯和半导体科技(上海)股份有限公司“一种快速求解多层集成电路板中平面分割过孔的方法”专利公布,申请公布日为2025年2月28日,申请公布号为CN119538843A。
芦笋演示
一键出成片的录屏演示软件,专为制作产品演示、教学课程和使用教程而设计。
34 查看详情

本发明提供了一种快速求解多层集成电路板中平面分割过孔的方法,该方法包括计算多层集成电路板内所有元素的连接关系、确定每个过孔的垂直位置、识别与之相交的平面层、记录连接信息、为每个平面层分配优先级值、按照优先级值排序、创建数据结构QMap,QSet>以及转换数据结构为QMap>>,基于得到的每个过孔被平面相切割的关系,切割出被平面分割的孔。该方法通过自动化的数据处理和优化的算法,提高了过孔分割的准确性和效率,减少了设计和制造成本,缩短了生产周期,为多层集成电路板的设计和制造提供了强有力的技术支持。
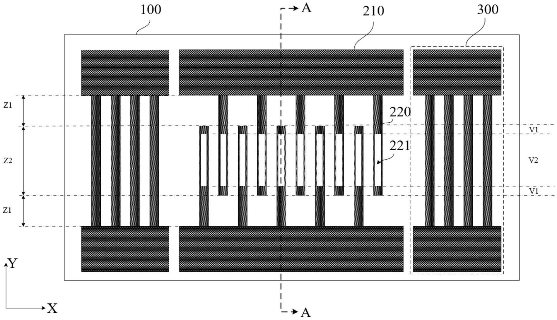
3.左蓝微“一种声表面波器件结构及装置”专利公布;
天眼查显示,左蓝微(江苏)电子技术有限公司“一种声表面波器件结构及装置”专利公布,申请公布日为2025年2月28日,申请公布号为CN119543866A。

本申请提供了一种声表面波器件结构及装置,包括衬底和IDT电极,IDT电极形成于衬底上,包括相对设置的两个叉指电极,每个叉指电极均包括一个汇流条和多个电极,不同叉指电极的电极指之间交错间隔排列。通过在电极指上形成至少一个凹槽,且凹槽的竖直投影位于电极指的竖直投影面内,使得IDT电极激发形成的声表面波能够受到凹槽的影响而在电极指范围内形成多个不同的声速区,且声表面波在电极指靠近端部位置的传播速度小于电极指的凹槽对应位置的传播速度,在效果上就相当于在电极指的指条末端增加抑制负载,不仅能够起到抑制横向模态的效果,还降低了声表面波器件结构的加工工艺要求和工艺成本。
以上就是【公布】天马微电子“显示面板及显示模组”专利公布;的详细内容,更多请关注创想鸟其它相关文章!
版权声明:本文内容由互联网用户自发贡献,该文观点仅代表作者本人。本站仅提供信息存储空间服务,不拥有所有权,不承担相关法律责任。
如发现本站有涉嫌抄袭侵权/违法违规的内容, 请发送邮件至 chuangxiangniao@163.com 举报,一经查实,本站将立刻删除。
发布者:程序猿,转转请注明出处:https://www.chuangxiangniao.com/p/269136.html
微信扫一扫
支付宝扫一扫

